地球流体電脳倶楽部

/GFD_Dennou_Club/ ftp/ arch/ numexp/ spshallow-zd_bench/ exp/

case1_gallery

浅水系(2 次元球面, 渦度発散型) : ベンチマーク実験ケース 1 計算解析結果の図・アニメーション等置場
竹広真一 (update: missing)


要約

CVS/
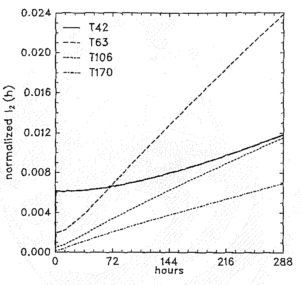
JW1995_FIG4.3.png
JW1995_FIG4.4.png
JW1995_FIG4.5.png
JW1995_FIG4.6.png

詳細

CVS/
JW1995_FIG4.3.png
JW1995_FIG4.4.png
JW1995_FIG4.5.png
JW1995_FIG4.6.png

last update: 2026/05/18 10:35:30
this page is generated with mksigen